Photoalbum
Ahnengalerie
Photographie
Burgen
Verschiedenes
Privates
Zur Burgenübersicht
In Google-Maps anzeigen
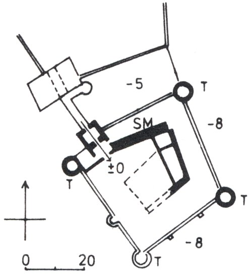
Burg Amlishagen
Stadtteil Amlishagen, Gerabronn, Schwäbisch-Hall, Baden-Württemberg
Geo-Koordinaten
Links
Alle Burgen
Burgenarchiv
Wikipedia